Para elevar materiales para la construcción de edificios se está utilizando una grúa con un cable de acero con módulo elástico \(E=2.1 \times 10^6~kgf/cm^2\) de peso específico \(7800~kgf/m^3\). El cable, que mide entre extremos 150 m, está formado por 250 alambres trenzados (se obviará la incidencia del trenzado en el desarrollo de este problema) de diámetro \(2400~\mu m\) cada uno. Si al elevar los materiales el cable tensionado queda sometido a cargas promedio de \(200~kgf\), calcular:

  1. El alargamiento que experimenta el cable debido sólo a su propio peso. Respuesta: 4.178 mm.
  2. El alargamiento que experimenta el cable debido sólo a la carga suspendida. Respuesta: 1.26 mm.
  3. El esfuerzo máximo que soportan los alambres que conforman el cable, teniendo en cuenta, tanto el peso en el extremo como el peso propio del cable. Respuesta: 13.21 MPa.

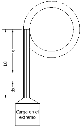
Carga suspendida de cable trenzado

Desarrollo del numeral 1

El alargamiento que experimenta el cable debido sólo a su propio peso se puede hallar a partir de la expresión para la extensión dada por la siguiente integral:

$$ \Delta L = \int_0^{L_0} e(x) \cdot dx $$

Ecuación 1

El esfuerzo máximo que actúa sobre el cable en el extremo superior se puede plantear usando la ley de Hooke:

$$ \sigma (x) = E \cdot e(x) $$

De allí despejamos la deformación:

$$ e(x) = \frac{\sigma (x)}{E} $$

El esfuerzo máximo se puede determinar como:

$$ \sigma (x) = \frac{P(x)}{A_0} $$

El peso del cable en función de x se puede expresar en función del peso específico y el volumen, así:

$$ P(x) = \gamma \cdot V(x) $$

El volumen se puede expresar como:

$$ V(x) = A_0 \cdot x $$

Realizando las sustituciones a que hay lugar se puede obtener:

$$ e(x)=\frac{\gamma \cdot A_0 \cdot x}{A_0 \cdot E} $$

Sustituyendo la expresión anterior en la Ec. 1 y resolviendo la integral se obtiene:

$$ \Delta L = \frac{\gamma \cdot A_0 \cdot L_0 \cdot L_0}{2 \cdot A_0 \cdot E} $$

Teniendo en cuenta que el volumen total del cable se puede expresar como \(V=A_0 \cdot L_0\) y que el peso total del cable se puede expresar en función del volumen total del cable como \(P=\gamma \cdot V\) se obtiene:

$$ \Delta L = \frac{P \cdot L_0}{2 \cdot A_0 \cdot E} $$

Teniendo en cuenta las conversiones de unidades adecuadas se obtiene que la extensión del cable debido a su propio peso es:

$$ \Delta L = 4.178~mm $$

Desarrollo del numeral 2

Para hallar el estiramiento debido sólo a una carga aplicada en el extremo del cable se podría plantear algo similar a lo realizado en el numeral 1. Como alternativa, se puede tomar la definición de la deformación de ingeniería:

$$ e = \frac{\Delta L}{L_0} $$

Despejamos la extensión:

$$ \Delta L = e \cdot L_0 $$

Ecuación 2

Podemos tomar la deformación de la Ley de Hooke,

$$ e = \frac{\sigma}{E} $$

y sustituírla en la Ec. 2:

$$ \Delta L = \frac{\sigma \cdot L_0}{E} $$

Si tenemos en cuenta que el esfuerzo presente a lo largo del cable es constante, tenemos:

$$ \sigma = \frac{P}{A_0} $$

Donde P es la carga aplicada en el extremo y \(A_0\) es el área de la sección transversal antes de la aplicación de la carga. Al sustituír el esfuerzo en la Ec. 3 se obtiene:

$$ \Delta L = \frac{P \cdot L_0}{E \cdot A_0} $$

Realizando los cálculos y las conversiones correspondientes se obtiene:

$$ \Delta L = 0.00126~m = 1.26~mm $$

Desarrollo del numeral 3

El esfuerzo máximo que soportarán los alambres debido a la carga y al peso del cable se hallará en el extremo superior del cable, justo en x=0. Se puede calcular como:

$$ \sigma_{total} = \frac{P_{total}}{A_0} = \frac{P_{carga}+P_{cable}}{A_0} = \frac{P_{carga}}{A_0} + \frac{P_{cable}}{A_0} = \sigma_{carga} + \sigma_{cable}$$

Teniendo en cuenta que 1 kgf equivale a 9.81 N, obtenemos que \(P_{carga}=1962~N\) y \(P_{cable}=12980.97~N\). Teniendo en cuenta que \(A_0\) es el área total calculada como la suma de las áreas individuales de cada alambre del cable (en total son 250), se obtiene:

$$ \sigma_{total} = 1.73~MPa + 11.48~MPa = 13.21~MPa $$

Esto teniendo en cuenta que \(1~MPa = 1 \times 10^6~Pa\). Es importante tener en cuenta que si se hubiese decidido calcular el esfuerzo para un sólo alambre, el resultado habría resultado exactamente el mismo, dado que, tanto la carga total soportada por el cable, como el área transversal del cable, se habrían dividido sobre el número de alambres, es decir 250.

Comentarios potenciados por CComment